1
/
of
3
Royal Products
Filtermist Motor
Filtermist Motor
Part Number: 30450
Regular price
$728.00 USD
Regular price
Sale price
$728.00 USD
Unit price
/
per
Shipping calculated at checkout.
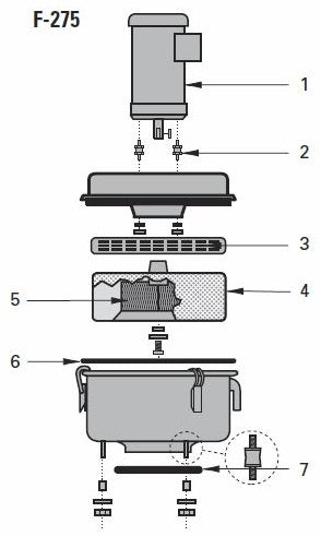
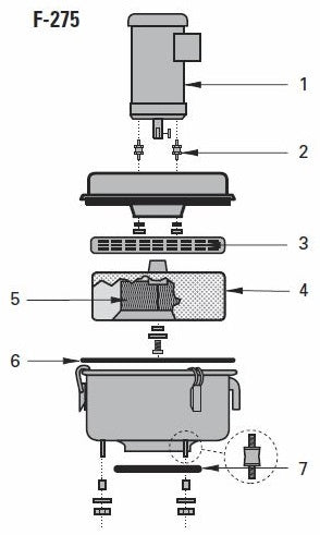
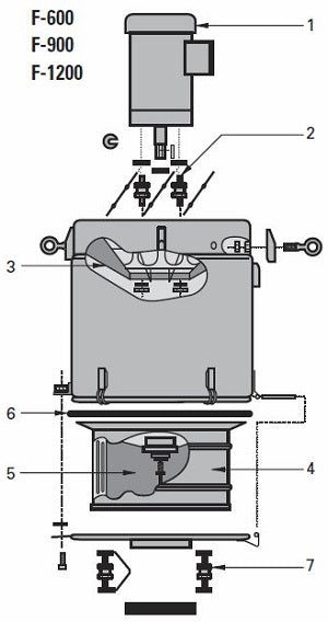
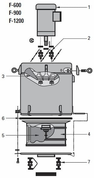
If you're uncertain about the specific model or series of Filtermist you possess, please refer to this page for additional details before placing your order.
Couldn't load pickup availability
Genuine OEM replacement motor for Royal Filtermist units includes free UPS Ground shipping.
#1 in product diagram.
Share


